Control and Measurement Point for Gas Distribution - KIP.PTM

Control and Measurement Point Type 17 KIP.PTM for Gas Distribution Applications

Manufacturer:PROMTEHMASTER LLC
Price:Request Quote

Bulk pricing available

FOB, CIF & EXW terms available

Description

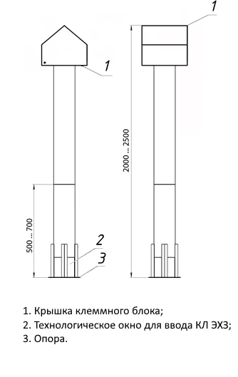
Control and measuring point type 17 KIP.PTM is designed for application at gas distribution facilities, for marking pipeline routes, as well as for monitoring and control of electrochemical protection parameters, operated in conditions of temperate climate (U), cold climate (CL), temperate and cold climate (UHL) in accordance with GOST 15150. Type 17 KIP.PTM is a round metal rack Ø159-220 mm with a wall thickness of at least 3.5 mm, for buried installation in the ground above an underground structure, in the upper part of which is made a header with a double-sloped roof, with a control panel and contact clamps (terminals). The support in the lower part of the metal instrumentation rack structure shall have a square shape with a side of at least 300 mm for installation (concreting) into the ground.

Specifications

Type
Instrumentation and measuring station type 17 I&C.PTM
Climatic version
temperate climate (y); cold climate (hl); temperate and cold climate (uhl)
Material
Metal
Height
2000...2500 mm
Degree of protection against external influences
at least ip34
Diameter
159...220 mm
Save Your Time

Share your requirements for a quick response!

Instant response in 15 minutes
Best wholesale prices guaranteed
Direct from manufacturer

Delivery & Payment

Shipping Terms

FOB Novorossiysk, RussiaCIF Available to major ports worldwideEXW Manufacturer's facility, Russia

Delivery Time

Sea freight: 30-60 days (depending on destination) Air freight: 14-21 days (for urgent orders)

Payment Methods

Letter of Credit (L/C)Wire Transfer (T/T)Escrow Services

Similar Products You May Be Interested In

Verified Suppliers

All products are sourced directly from authorized Russian manufacturers

Quality Assurance

Products meet international quality standards with proper certification

Global Shipping

Reliable logistics solutions to deliver products to your location

Secure Payments

Multiple secure payment options to facilitate international transactions

Your callback request has been received. We'll contact you shortly.